求大佬帮忙
电气工程吧
全部回复
仅看楼主
level 1
一个人的狂欢💤
楼主
求大佬帮忙
2019年05月31日 13点05分
1
level 1
一个人的狂欢💤
楼主
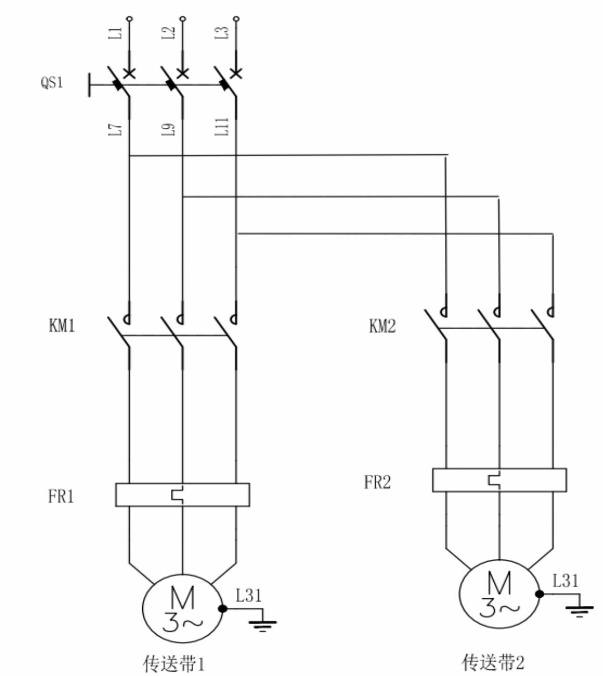
能不能说一下这个电气原理图的线路工作原理 类似于这种
2019年05月31日 13点05分
2
level 1
一个人的狂欢💤
楼主
有偿 没人吗
2019年06月01日 01点06分
3
level 1
迷路的东风
这图不完整吧
2019年06月01日 04点06分
4
迷路的东风
km线圈都莫得
2019年06月01日 04点06分
level 8
☞☎💯行者无疆
你求助什么问题?
2019年06月01日 23点06分
5
一个人的狂欢💤
就这个主电路图的工作过程
2019年06月02日 01点06分
level 8
☞☎💯行者无疆
不带连锁,总开关(断路器)给两个接触器提供电源,两个接触器的控制分别是独立的,很简单就一个启动自锁装置嘛!也可以做成顺序控制需要加延时继电器了。
2019年06月01日 23点06分
6
level 1
电力小小青年😁
这期末考试来答疑了?
2019年06月04日 04点06分
7
level 1
👻Y😱
控制回路呢?
2019年06月25日 11点06分
8
1