关于再次调整吧务人员的说明(20190410)
喀左吧
全部回复
仅看楼主
吧务
level 14
逍遙四海
楼主
各位吧务、吧友:
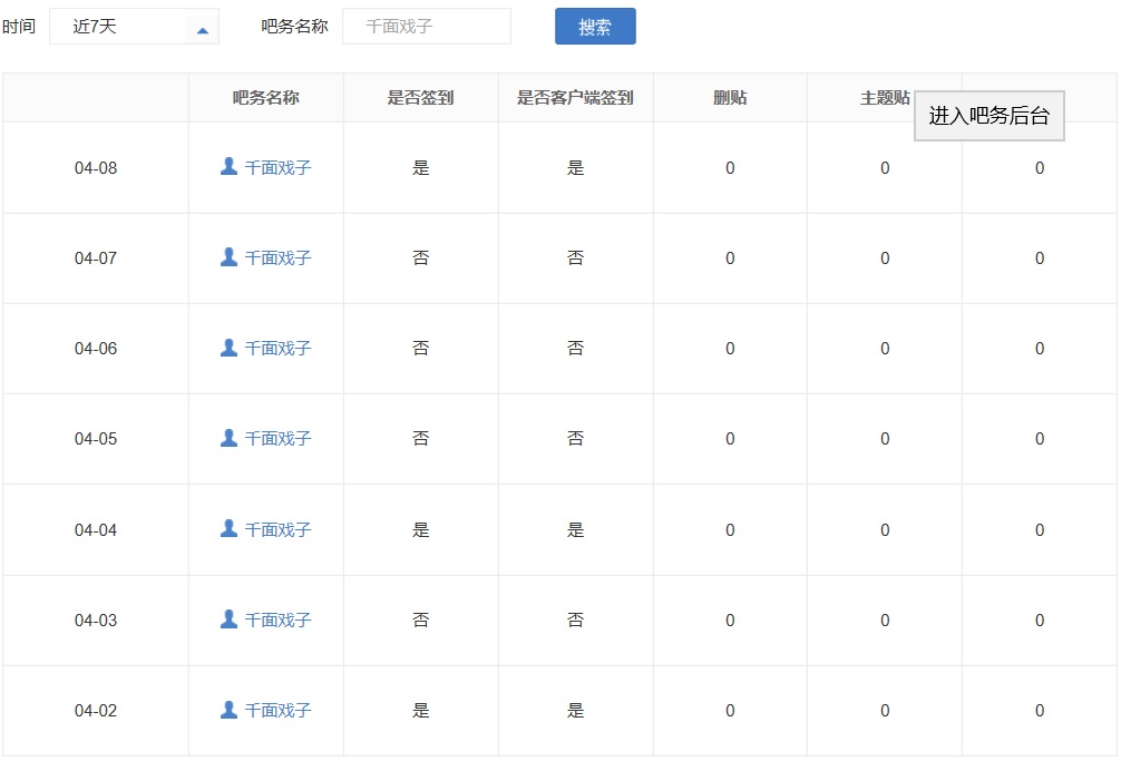
据《吧务考勤》显示,原小吧主
@千面戏子
一周以上未发帖、未删帖、虽偶有签到,但依然明显违反《关于实质小吧主和新任小编的几个硬考核指标》,经吧主核实后决定撤销千面戏子的小吧主权限。
另外,在后备小吧主冰如画博爱天下、★黑色★、
@书缘小叟
中,选择scs369升任小吧主,理由是scs369会员等级高于其他两位后备小吧主。同时,增补
@AジA
为后备小吧主并列入考核名单。
喀左吧吧主:逍遙四海、达日阿赤、古塔金燕
即日
附录:吧务考勤表
2019年04月10日 12点04分
1
吧务
level 14
逍遙四海
楼主
关于实质小吧主和新任小编的几个硬考核指标
https://tieba.baidu.com/p/6064981759
2019年04月10日 12点04分
2
逍遙四海
复兴贴吧,必须从整顿吧务做起,希望其他吧务人员积极参与贴吧管理和积极参与吧内交流。
2019年04月11日 02点04分
吧务
level 15
书缘小叟
言身合一,寸金惜时
2019年04月10日 14点04分
3
奥古斯丁🌹
恭喜新任小吧
2019年04月11日 04点04分
书缘小叟
@奥古斯丁🌹
同喜同喜
2019年04月12日 02点04分
吧务
level 14
奥古斯丁🌹
共同努力,力建和谐温馨喀左吧
2019年04月11日 00点04分
4
level 15
小刀-1987
权利维护贴吧秩序
2019年04月11日 06点04分
5
level 13
欧阳雨杰
那个环保局那个是官方吗?
2019年04月12日 22点04分
6
逍遙四海
是的
2019年04月14日 03点04分
吧务
level 11
AジA
我会努力哒
2019年04月13日 11点04分
7
level 14
万思不得
这种咬人的管了不?
2019年04月15日 16点04分
8
level 11
风雪交加qaz
2019年04月19日 10点04分
11
level 8
举头望月ok
呵呵
2019年04月22日 07点04分
12
level 12
月下伊人✨
楼主收到信息请回复
2019年04月23日 08点04分
14
逍遙四海
收到!收到!
2019年04月27日 00点04分
level 16
🌞🔥光明使者🌞
2019年05月11日 12点05分
15
level 16
🌞🔥光明使者🌞
对
@🌞🔥光明使者🌞
使用神圣的
挽尊
卡挽回他的尊严!效果:喀左吧经验+12
2019年05月11日 12点05分
16
level 16
🌞🔥光明使者🌞
对
@逍遙四海
使用神圣的挽尊卡挽回他的尊严!效果:喀左吧经验+10
2019年05月11日 12点05分
17
逍遙四海
2019年05月12日 02点05分
level 16
🌞🔥光明使者🌞
对
@🌞🔥光明使者🌞
使用耀眼的挽尊卡挽回他的尊严!效果:喀左吧经验+8
2019年05月13日 12点05分
18
1
2
尾页