北京联通号码插在手机副卡位置,未使用流量竟然出现收费
北京联通吧
全部回复
仅看楼主
level 1
傲方电脑网
楼主
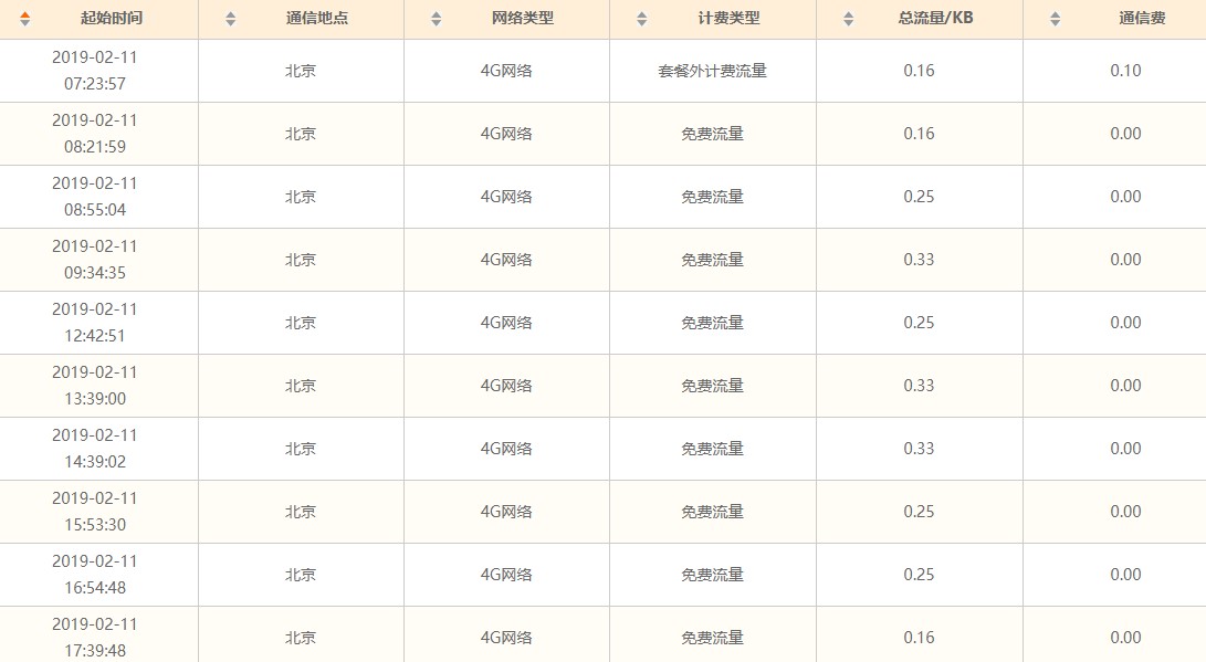
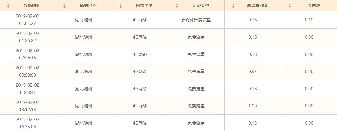
主卡电信,副卡联通号,就是接个电话用的,从来也没切换过流量使用联通卡,但是几乎每天都产生流量使用。19年1月申请了从百度小圣卡9元变更到天圣6元,2019年2月生效天圣6元套餐,从2月开始几乎每天都会产生流量计费,2月有28天其中有21天每天记了0.1元,这不到了3月查询话费的时候才发现这个问题,要是不经常看话费的还零点不知道这每天1毛钱是怎么扣的。请看截图
2019年03月05日 04点03分
1
level 5
屠夫丨衰神
很正常,我移动号也这样,每月扣好几块,除非打客服把上网功能关了
2019年03月09日 08点03分
2
1