level 11
太上妖祖银蛹
楼主
实在不好意思大家,又用这破事来污染大家的版面了![[泪]](/static/emoticons/u6cea.png)
前情提要:
著名的晴空笑脸a/萌萌开心虎及其系列小号,来我tb回血店里拍东西。因为此人已经在贴吧因为恶意到手刀、强行要求卖家给钱否则拒签、掉包等事被曝光多次。所以我不想出售东西给他,直言不会卖东西给他,并把他被曝光的截图发给了他,让他别来我这儿买(最开始我只是装死,结果被他直接拍下付款了;然后语气委婉地说没货,这人也不依不饶;后来经贴吧老哥指点,干脆直接点明不卖他的原因)。结果这人一下子开始乱骂人,然后用了一堆小号拍了我十几件东西,并到处找客服投诉我不发货。我一直没给他发货,并详细给找上门来的十几个客服解释来龙去脉,他最后终于申请退款了,我以为事实已经告一段落,我终究没被这种腊鸡得逞。
然而我还是想得太天真
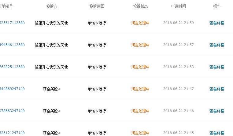
在退款完毕之后,他用小号发起了投诉,投诉原因是未按约定时间发货

虽然我把所有证据都贴给了tb,但是他还是赢了,我的回血店被扣分,且被扣了30的保证金直接给他。

好吧,扣不扣分无所谓,30罚金我也忍了(光扣30我还不会这么生气,这30竟然还要给他,等于发货会被他到手刀或掉包,不发货会被他投诉,骗走我的保证金)。钱终于还是被这人拿走了,事情应该告一段落了吧。
然而我还是想得太天真,今天一看,他又用小号新发起了十几次投诉:



对于tb我已经不抱指望了,反正他们都是瞎判的,这次也很大概率会全部成立。
所以我的问题是,处罚成立之后我会被重复罚款吗,那岂不是要不停地把钱给他
2018年06月23日 12点06分
1
前情提要:
著名的晴空笑脸a/萌萌开心虎及其系列小号,来我tb回血店里拍东西。因为此人已经在贴吧因为恶意到手刀、强行要求卖家给钱否则拒签、掉包等事被曝光多次。所以我不想出售东西给他,直言不会卖东西给他,并把他被曝光的截图发给了他,让他别来我这儿买(最开始我只是装死,结果被他直接拍下付款了;然后语气委婉地说没货,这人也不依不饶;后来经贴吧老哥指点,干脆直接点明不卖他的原因)。结果这人一下子开始乱骂人,然后用了一堆小号拍了我十几件东西,并到处找客服投诉我不发货。我一直没给他发货,并详细给找上门来的十几个客服解释来龙去脉,他最后终于申请退款了,我以为事实已经告一段落,我终究没被这种腊鸡得逞。
然而我还是想得太天真
在退款完毕之后,他用小号发起了投诉,投诉原因是未按约定时间发货

虽然我把所有证据都贴给了tb,但是他还是赢了,我的回血店被扣分,且被扣了30的保证金直接给他。
好吧,扣不扣分无所谓,30罚金我也忍了(光扣30我还不会这么生气,这30竟然还要给他,等于发货会被他到手刀或掉包,不发货会被他投诉,骗走我的保证金)。钱终于还是被这人拿走了,事情应该告一段落了吧。然而我还是想得太天真,今天一看,他又用小号新发起了十几次投诉:



对于tb我已经不抱指望了,反正他们都是瞎判的,这次也很大概率会全部成立。所以我的问题是,处罚成立之后我会被重复罚款吗,那岂不是要不停地把钱给他