level 1
diyyong
楼主

此前我们报道了微软申请了电容式眼球追踪专利,最近由 MSPoweruser 又发现了微软用于眼球追踪的一个新专利。这些专利表明微软正在考虑为其头戴显示器加入眼球追踪技术。新的专利技术使用“波导”来跟踪眼球运动,这是一种尝试减轻佩戴眼镜的兼容性问题。眼球追踪目前的痛点是需要在头戴显示器上安装摄像头,这会导致影响你的部分视野。而通用的一种解决方案是借助部分反射器将摄像头的视线直接弯曲到你的眼睛区域。
虽然这种方式有助于避免视野限制,但它对戴眼镜的用户表现欠佳。从理论上讲,微软的专利将有利于解决这个问题,它由一个透明波导达成这个目的,透明波导则由一个输入耦合器和一个输出耦合器组成。
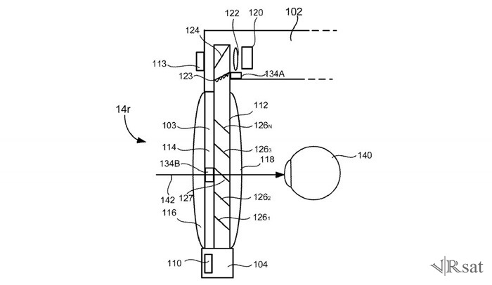
在专利文件中,微软详细描述了它们的工作原理,VR科技网摘取部分简单介绍一下:
文中描述的是一种波导技术,主要使用红外线光跟踪眼球运动。这种波导可以在头戴显示器上使用,但不限于此,它是透明的并包含一个输入耦合器和一个输出耦合器。
输入耦合器包含由许多条弯曲光栅线形成的光栅区域,当光束入射在输入耦合器的光栅区域时,输入耦合器的弯曲光栅线能够把光束衍射到波导中,并朝向位于输出耦合器处的公共区域。
专利摘要还继续描述了红外光束如何与输入耦合器的弧形光栅线共同工作以及输出耦合器的汇聚点作用,这些过程最终达成眼球追踪的效果。
这些技术非常先进。目前我们所熟知的 HoloLens 当前版本明显是没有眼球追踪功能,但微软毫无疑问被这个技术所吸引。
不管怎样,我们将有可能在下个月在 CES 上看到类似的眼球追踪技术。SensoMotoric Instruments(SMI) 是一家眼球追踪技术的热门公司,将会在未来几周演示他们用于头戴显示器的最新产品。
文章转自:VR科技网