12.16【晒单】美国微软商城入了个DELL INS 13,走ISS,遗憾被税
转运四方吧
全部回复
仅看楼主
level 7
maifan
楼主
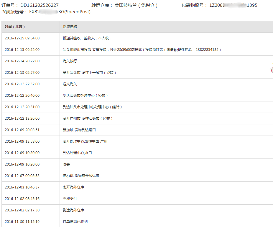
订单号:DD161202526227
499刀,3.1KG,走ISS,历时12天,本地邮政清关,完税价格2000*15%+20邮政代理费=320元税
笔记本能走香港自提还是走香港比较好。
另外原包装很靠谱,完全不需要加固。以防万一买了保险,花了50多元。
2016年12月16日 09点12分
1
level 6
0章鱼烧8
问下楼主,笔记本电脑的价格是自己申报还是转运申报?
2016年12月16日 11点12分
2
maifan
自己填价格,不要超过4000,否则很大几率按照实际价格征税。海关规定笔记本完税价格为2000.只要你的申报价格不超过完税的2倍,也就是不超4000,基本都是按完税2000计算税。不然就要去申请行政复议了。
2016年12月16日 22点12分
level 7
hnajel
我跟你买一个型号的,怎么是2000X15%呢?不是499刀吗
2016年12月16日 15点12分
3
氘加氚再高温
少报一点呗。。
2016年12月16日 16点12分
maifan
@氘加氚再高温
海关规定笔记本完税价格为2000.只要你的申报价格不超过完税的2倍,也就是不超4000,基本都是按完税2000计算税。不然就要去申请行政复议了。
2016年12月16日 22点12分
hnajel
@maifan
哦哦,是自己去邮政报税什么的吗?第一次海淘,不大懂。
2016年12月16日 23点12分
maifan
@hnajel
你在四方里面预报这个包裹,然后按实际金额预报就行了。
2016年12月17日 02点12分
level 11
氘加氚再高温
同笔记本iss 1号到仓库 6号出库。12号到新加坡。14号出新加坡。现在这批货死在路上了。点真背
2016年12月16日 22点12分
4
level 6
valenti666
四方电脑邮政清关几乎必税 要么自提要么不用
2016年12月16日 22点12分
5
level 7
hnajel
楼主,我这个应该填报价值写499刀吗?估计是要被税了
2016年12月19日 00点12分
6
level 4
gogogo沟go
我前天去香港自提点,自己背了3台笔记本回来
还好没被抓。
2016年12月19日 03点12分
7
hnajel
威武
2016年12月19日 11点12分
1