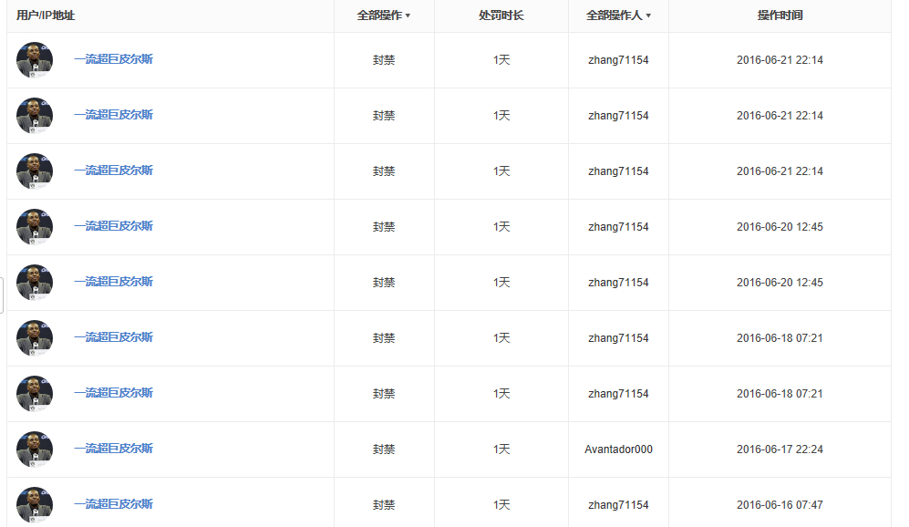
无奈了,我就能封一天,还不能叠加,大吧封了10天3天就出来了
皮尔斯吧
全部回复
仅看楼主
level 12
zhang71154
楼主
2016年06月21日 14点06分
1
level 12
肯追喇骂儿💢
我能说啥好呢
2016年06月21日 15点06分
2
level 14
AndyGarnett110
没事,他出现一下,我们多一点茶余饭后的笑料。
2016年06月22日 02点06分
5
level 11
安g诺q其
接着封
2016年06月22日 02点06分
6
level 14
哈啤_1900
人家在这也没怎么样 不封
2016年06月22日 09点06分
11
皮尔斯过春节🐭
皮蜜本来就是理智球迷!皮吧大吧更是理智球迷中的典范
2016年06月23日 03点06分
level 12
o夕阳细雨o
大快人心
2016年06月22日 16点06分
13
皮尔斯过春节🐭
2016年06月23日 03点06分
level 8
好男人SPH
我觉得这人要么脸皮他妈的厚,要么就是很不正常
2016年06月23日 10点06分
17
皮尔斯过春节🐭
我觉得我只是爱皮爱的深,太深了
2016年06月23日 12点06分
好男人SPH
@皮尔斯过春节🐭
兄弟,你可以的,继续努力,加油
2016年06月23日 15点06分
皮尔斯过春节🐭
回复 好男人SPH :共勉共勉
2016年06月23日 15点06分
好男人SPH
fuck you,现在懂我意思了吧,你这皮黑,老子在n吧就见识过了,
2016年06月23日 15点06分
level 14
34way▫
我也无奈
2016年06月23日 15点06分
18
level 12
素问🍭
我倒是很想看看他长什么样
2016年06月26日 23点06分
22
皮尔斯过春节🐭
特别丑
2016年06月27日 04点06分
皮尔斯过春节🐭
你往你见过最丑的人身上想就差不多了
2016年06月27日 04点06分
素问🍭
@皮尔斯过春节🐭
没见过最丑的
2016年06月27日 09点06分
皮尔斯过春节🐭
@素问🍭
王宝强那样
2016年06月27日 09点06分
level 12
春娇与志明🍒
封那种一直刷内涵段子的人,那种无聊的广告和段子我删了两天了
2016年08月02日 12点08分
24
皮尔斯过春节🐭
礼物礼物
2016年08月11日 07点08分
level 8
爱美丽的好孩
送温暖ddddddddddd,我是暖贴小天使。
2016年08月14日 08点08分
29
1