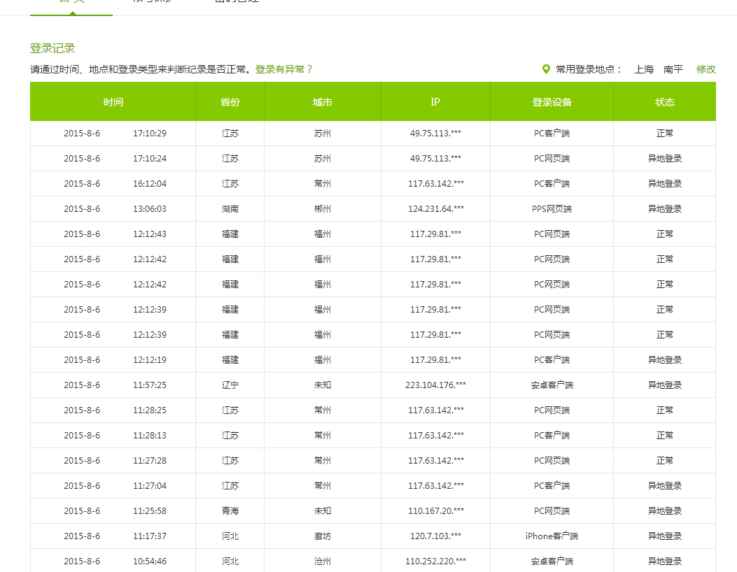
我会瞬间移动哦!!!!
pps吧
全部回复
仅看楼主
level 1
Guywwp
楼主
难道我的账号变公共号了?
2015年08月06日 11点08分
1
level 11
国庆一宅到底
你的账号有可能被盗,建议修改登陆密码。
2015年08月06日 12点08分
2
level 2
iQIYI小助手
您好!您的账号可能被盗,建议立即修改密码,修改的密码最好是大小写字母和字符以及数字组合,这样会提高您账号的安全性。
2015年08月06日 13点08分
3
1