【贴子恢复】08-06丨帖子被误删,希望能帮忙恢复一下
贴吧意见反馈吧
全部回复
仅看楼主
level 1
hmfsh61 楼主
尊敬的管理员您好,我是DotA2吧一个普通水友,我在2吧开了一个介绍饰品的帖子tieba.baidu.com/p/3943103339
因为每次要写的内容比较多,所以我都只能事先把内容写好,然后小段小段地复制粘贴到我的帖子里。但是,因为短时间内发帖太过频繁,所以常常被系统判定为刷帖而被删帖,这给我造成了很大的困扰。由于贴吧的帖子不允许二次编辑,所以我的帖子被系统删掉之后就不连续了,这非常影响我的正常更新,也极为影响看帖的吧友们的阅读。
希望您能为我恢复我被系统误删的帖子,在此提前表示感谢~
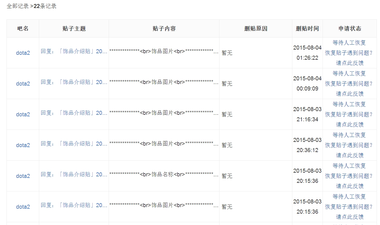
我的贴吧ID:hmfsh61
被删帖截图:
2015年08月05日 19点08分 1
level 1
hmfsh61 楼主
@贴吧Madam
希望能帮我恢复一下帖子,谢谢~
2015年08月05日 19点08分 2
level 1

2015年08月13日 15点08分 3
1