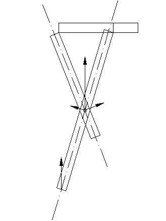
首先是展开吧主的提问,关于桌腿和钢筋的受力分析。
我曾经说因为桌腿有些开合角<90度有些开合角>90度,这个桌子就会在支撑的时候稳定,现在我拿最外面的支撑腿与最里面的腿当做特征桌腿来分析。


当桌子重力和桌面受向下的压力的时候,作为唯一与地面相接触的支撑腿的腿脚受垂直向上的支持力。这个支持力会传导到钢筋上。
这个时候,开合角<90度的桌腿受到分解出来的切向力的作用,其运动趋势是使得此桌腿开合角变小。
而开合角>90度的桌腿收到分解出来的切向力的作用,其运动趋势是使得此桌腿开合角变得更大。
也就是说,一部分桌腿的趋势使得钢筋向左位移,一部分使得钢筋向右位移。钢筋是固定在支撑腿上的,如果要靠重力使得那部分开合角>90度的桌腿开合角变小,需要使得开合角<90度的桌腿上的切向力在开合角>90度桌腿上再次分解后的切向力大于直接由支持力分解出来的切向力。这...不嫌麻烦的话,可以算算,总之一般的结论是只要一部分桌腿在打开到最大的时候开合角能够>90度,这个桌子就是很稳定的,而且桌面上的压力越大,桌子会越稳。
那么这个结构与一般的一个桌面,4个垂直支撑腿的桌子相比有什么不同?
1:桌子更费料,同样桌面情况下,桌子更重
2:一般的桌子结构中最脆弱的是桌腿与桌面相接处。所有的法向和切向力都集中在这4个连接的地方。而这个桌子最牢固的就是铰链端,因为通过钢筋,所有的力都分散到每一条桌腿,最终反馈到这为数众多的铰链端。
3:一般的桌子要保持形状,需要本身具有形态维持功能的结构连接件(比如直接以钉子来保持垂直,或具有锁死功能的铰链);这个桌子不使用任何形态维持功能的结构连接件就可以在平板和最大开合脚两种形态保持一定的形态锁。(平板的形态锁看10楼最后一段话,打开的形态锁就是这个帖子开始的受力分析)
4:当然是桌腿包络很美
下面就解决原题中第二问在给定桌面宽D,桌高H情况下如何又稳,用料又少的问题了