【水】壮哉我大信息课,啊哈哈哈哈!
m1a2c3吧
全部回复
仅看楼主
level 8
虎鲸契卡
楼主
2014年01月09日 08点01分
1
level 8
虎鲸契卡
楼主
盖一个图楼~
2014年01月09日 08点01分
2
level 8
虎鲸契卡
楼主
2014年01月09日 08点01分
3
虎鲸契卡
推销一下楼主的个人贴吧群~那个无节操的群口号搬运自一位好基友~
2014年01月09日 08点01分
level 8
虎鲸契卡
楼主
居然让我发现了这个水池
2014年01月09日 08点01分
4
level 8
虎鲸契卡
楼主
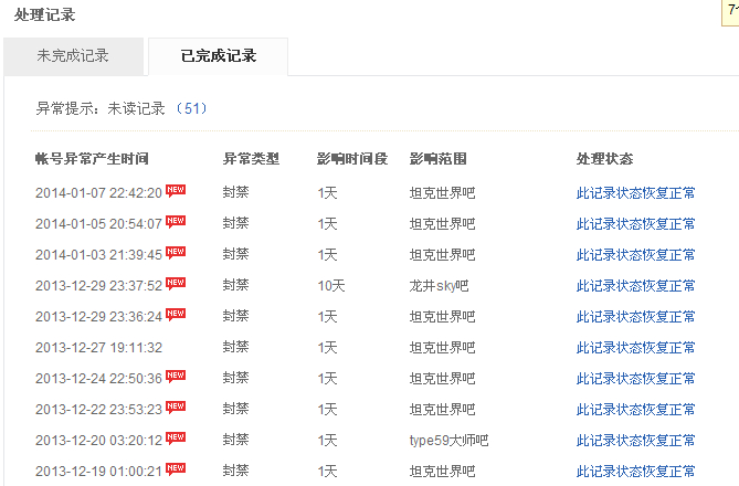
我的一位可怜的好基友被封禁的记录,无节操啊!
2014年01月09日 08点01分
5
虎鲸契卡
@亲卫队夏侯惇
小伙伴你知道这是谁被封禁的记录么?
2014年01月09日 08点01分
亲卫队夏侯惇
回复 EschatonStorm :不知道...
2014年01月09日 11点01分
虎鲸契卡
回复 亲卫队夏侯惇 :这个是那天和你聊 东方公司业务员的那位 的封禁记录
@Type59大师
2014年01月09日 11点01分
亲卫队夏侯惇
回复 EschatonStorm :我去...进击的59
2014年01月09日 11点01分
level 8
虎鲸契卡
楼主
壮哉我大对玩家宝具,G59!
2014年01月09日 08点01分
6
level 8
虎鲸契卡
楼主
水玩喽~
2014年01月09日 08点01分
7
level 8
TYPE59大师
习惯了
2014年01月09日 11点01分
8
亲卫队夏侯惇
你得罪那个85了?
2014年01月10日 12点01分
TYPE59大师
回复 亲卫队夏侯惇 :This is a long story.
2014年01月10日 12点01分
level 11
_旁者自清_
贺电
2014年01月10日 11点01分
9
1